南向资金今日净卖出28.83亿港元,盈富基金、阿里巴巴-W、小米集团-W分别遭净卖出35.56亿港元、6.56亿港元、6.48亿港元。净买入方面老股民经验分享,泡泡玛特、美团-W、长飞光纤光缆净买入额位列前三,分别获净买入4.57亿港元、3.41亿港元、2.27亿港元。
配资炒股举报 第一财经广告合作,请点击这里此内容为第一财经原创,著作权归第一财经所有。未经第一财经书面授权,不得以任何方式加以使用,包括转载、摘编、复制或建立镜像。第一财经保留追究侵权者法律责任的权利。如需获得授权请联系第一财经版权部:banquan@yicai.com 相关阅读

杠杆资金本周重仓股曝光 寒武纪居首
杠杆资金本周重仓股曝光 寒武纪居首

03-22 22:12

翔鹭钨业今日涨4.60%,有5家机构专用席位净卖出3.40亿元
翔鹭钨业今日涨4.60%,有5家机构专用席位净卖出3.40亿元
02-25 16:26

杠杆资金本周重仓股曝光 昆仑万维居首
杠杆资金本周重仓股曝光 昆仑万维居首
元股证券:ygzq.hk 19 02-14 22:54

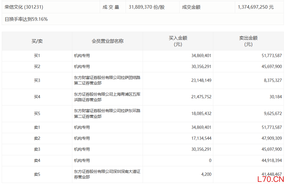
荣信文化今日跌14.19%,有4家机构专用席位净卖出1.08亿元
荣信文化今日跌14.19%,有4家机构专用席位净卖出1.08亿元
21 02-12 16:45

杠杆资金本周重仓股曝光 中际旭创居首老股民经验分享
杠杆资金本周重仓股曝光 中际旭创居首
02-08 22:51 一财最热 点击关闭
环宇证券|为投资者提供股票配资支持服务提示:本文来自互联网,不代表本网站观点。